Video Game Patents

Throughout its history, video games have evolved to become very intensive and detailed. Games have evolved from just a simple tennis game (Tennis for Two, one of the first video games created) to something as complex and popular as Fortnite, which has many features and components that build that game. Nowadays video games include so many features that companies want to protect that intellectual property, and prevent others from trying to copy their ideas. Therefore, companies have created many patents to protect their intellectual property and work.

How do patents work for video games? There are many different parts of a video game that can be patented. Some of these include:

  • Game mechanics: Rules, processes, and algorithms that define how the game works.

  • Graphic elements: Characters, objects, environments, and other visual displays in the game.

  • User interface: How the player interacts with the game, including controls and menus.

  • Underlying technologies: Software and hardware used to run the game.

(Drori, 2024)

Interview with Angelo Alcid

Angelo Alcid is a video game attorney at Microsoft and Xbox Game Studios, responsible for Halo, Gears of War, and Hellblade games. His work focuses on a range of legal issues, including game development process, IP portfolio management, and both inbound and outbound licensing. He previously worked at Bandai Namco Entertainment America, and frequently speaks at conferences about legal issues affecting the video game industry (Angelo Alcid). Mr. Alcid explained to us how patents can sometimes be used to protect elements of video games.

Video game companies are able to develop new features based on features already created by other video game companies because patent law permits innovations and improvements on existing technology. New features arise when companies take older systems and add their own spin or improvements to those mechanics. These improvements help keep video games fun, especially if you enjoy playing one type of genre of video games.

Nemesis System

A very interesting patent of a video game mechanic is the Nemesis System created by Warner Brothers Interactive Entertainment. This patent was granted by the USPTO in February of 2021 (Drori, 2023). The game mechanic features a system where the non-playable characters (NPCs) have more life and character development by learning based off of previous interactions with the player (Patent no. 20160279522 - see an image from the patent below). In the game Shadow of Mordor when the player would fight with enemies the enemy will then remember the player when they see them again in the future. This helps build a story based on how the player plays and interacts with these characters. Since this patent is in place it prevents other companies from using this system in their own games to create story-rich games and interactions with the NPCs in their games. This can be seen by some as a blocking patent because Warner Brothers has not used the system in any game and was only used in one of their games in 2017. There are many games that could benefit from this type of mechanic but since there is a patent for it, other companies either need to wait for the term of the patent to end or get a license to use the system (Bonk, 2025).

Flow chart diagram for Nemesis system

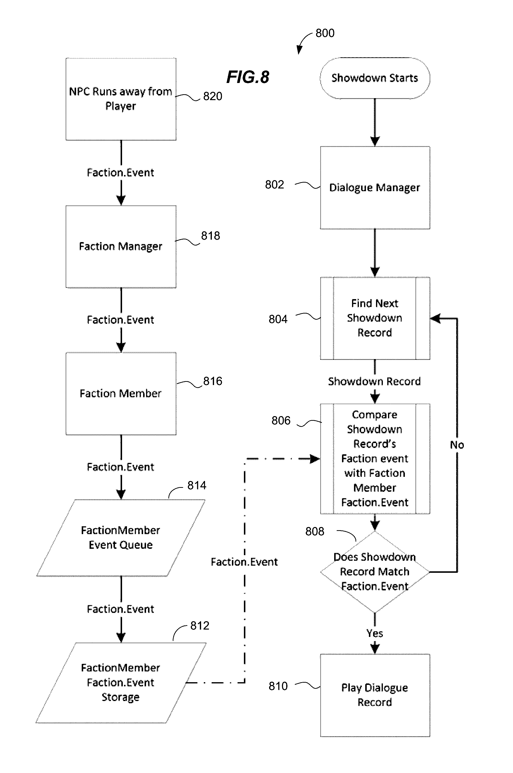
Dialogue Wheel Patent

Another video game mechanic that has been patented is a dialogue wheel for interactions with the player and a character in the game. The patent application was filed by Bioware Corp., but the patent is currently owned by EA International Studio and Publishing Ltd. (Patent no. 20070226648 - see image from the patent below). This has been implemented in a game called Mass Effect created by BioWare (Wald, 2021). The system allows for conversations and decision making which ultimately affects the story and relationships with the characters the player is interacting with. Although the system has been patented, many other games use a similar system to carry out the same function, including TellTale’s The Walking Dead, Minecraft Story mode, and Batman: The Telltale Series. Another company is Bethesda who owns the Fallout series and their dialogue system also provides the same function as the patented dialogue wheel from BioWare. From this we can see that although EA has a patent on the system, other developers may creating a system that provides the same function but operates differently so it is distinctive enough from the patented system.

Mass Effect Dialogue Wheel

Telltale Games dialogue system from The Walking Dead

Bethesda dialogue system from Fallout 4

Drawing of computer screen

Directional Arrow Patent

When playing a large scale video game where you can walk around and complete tasks, it may be difficult to find where you need to go in order to progress through the game. That's why games use tools to guide the player in the correct direction toward the objective. But there is one particular patent that has been granted that covers a system that helps guide the player to the destination. This patent is the directional arrow that has been filed by Sega for their game called Crazy Taxi (Patent no. 6200138 - see an image from the patent below). The system is where an arrow appears on top of the screen pointing in the direction that the player must travel in order to progress through the track. Other developers have made a work around to this and developed their own systems to guide players to objectives within their game. For example, in Mario Kart on the walls and around the racing track there will be arrows pointing in the direction of where you should be driving. This helps guide the player through the race especially when there are a lot of twists and turns going on within the game. Also there is a character called Lakitu within the game that tells you if you are going the wrong direction. Although Sega has created a patent it does not stop other driving or free roam games from guiding characters through the worlds the developers have created.

Drawing of car on road

Patent Infringement: Nintendo vs Palworld

Once video game companies obtain patents, they can bring patent infringement lawsuits if other companies use their patented technology. One example of this is the ongoing (as of May 2025) patent infringement lawsuit brought by Nintendo against Pocketpair. Pocketpair is a small indie company that created a game Palworld that resembles a very large and established game, Pokemon. Palworld is an open world survival game where you run around capturing animals (or Pals) and use them to fight and build a base. This has a similar concept to Pokemon where you capture animals to fight other animals. Nintendo sued Pocketpair for multiple infringements of their patents such as throwing an object to capture an animal (Patent no. 12179111, mounting and riding a Pokemon (Patent no. 20240286040), and more (Carpenter, 2024). As a result the developers of Palworld are facing around $66,000 in damages that are owed to Nintendo and The Pokemon Company which is owned by Nintendo.

Video game attorney Darius Gambino told us about a patent infringement case he worked on.

Patent application drawing
Drawing of person throwing a ball

EA Accessibility Patent Pledge

Not all companies file patents to protect their ideas. Electronic Arts (EA) has a pledge for patents where they file patents that help create an inclusive and accessible gaming environment for everyone (EA, n.d.). One of these patents includes a pinging system where players are able to mark locations where an icon will appear on the screen and a sound queue will play for teammates and the user in order to notify each other of information (Ping System Patent). This system helps improve accessibility for players who may have difficulties noticing important details within a video game amidst chaotic scenarios.. After filing this patent EA has encouraged other developers to use these systems to help improve the quality of games for everyone. This shows that although some companies may file patents to prevent others from using their system and innovations, EA has created a pledge where they file patents and then encourage others to improve accessibility for their games (Wald, 2021). In this case EA will not file any infringement claims unless the other party retaliates against EA.

Apex Legends Ping System

Overwatch 2 Ping System

Drawing of city scene

See more expert interviews and information about video games here.

References

“Angelo Alcid (Microsoft Corp.).” Game Developers Conference 2025, http://schedule.gdconf.com/speaker/alcid-angelo/37931

Bonk, Lawrence. “Shadow of Mordor’s Innovative Nemesis System Is Locked behind a Patent until 2036.” Engadget, Engadget, 26 Feb. 2025, https://www.engadget.com/gaming/shadow-of-mordors-innovative-nemesis-system-is-locked-behind-a-patent-until-2036-195437208.html

Carpenter, Lincoln. “Palworld Developer Reports Nintendo’s Suing over 3 Pokémon Patents for Only $66,000 in Damages, but a Videogame IP Lawyer Says Fighting the Lawsuit Could Mean ‘Burning Millions of Dollars.’” PC Gamer, PC Gamer, 8 Nov. 2024, http://www.pcgamer.com/games/survival-crafting/palworld-developer-reports-nintendos-suing-over-3-pokemon-patents-for-only-usd66-000-in-damages-but-a-videogame-ip-lawyer-says-fighting-the-lawsuit-could-mean-burning-millions-of-dollars/

Drori, Yonatan. “Patent Registration for Computer Games.” DWO, 27 June 2024, http://dwo.co.il/patent-registration-for-computer-games/

EA (n.d.) EA Accessibility Patent Pledge. https://www.ea.com/commitments/positive-play/accessibility-patent-pledge

Mena, Yonatan Drori and Coral. “The Patent Protection of the Nemesis System of the Game Middle-Earth: Shadow of Mordor.” DWO, 10 July 2024, https://dwo.co.il/the-patent-protection-of-the-nemesis-system-of-the-game-middle-earth-shadow-of-mordor/

Tran, Bao. “How to Patent Video Games.” PatentPC, @PatentPC, 29 Apr. 2025, http://patentpc.com/blog/how-to-patent-video-games

Wald, Heather. “EA Secures a Patent for the Apex Legends Ping System and It’s Giving It Away for Free.” GamesRadar+, GamesRadar+, 24 Aug. 2021, http://www.gamesradar.com/ea-secures-a-patent-for-the-apex-legends-ping-system-and-its-giving-it-away-for-free/

Wald, Heather. “From the Mass Effect Dialogue Wheel to Shadow of Mordor’s Nemesis System, Here Are 9 Video Game Patents That Might Surprise You.” GamesRadar+, GamesRadar+, 24 Aug. 2021, http://www.gamesradar.com/video-game-patents-that-might-surprise-you/

Patents

Nintendo Patent for throwing a capture device at an animal: https://patents.google.com/patent/US12179111B2/en?oq=7545191

Nintendo patent for riding an animal: https://patents.google.com/patent/US20240286040A1/en?oq=7528390

Nemesis System Patent: https://patents.google.com/patent/US20160279522A1/en

Ping system patent: https://patents.google.com/patent/US11097189B2

Mass Effect patent for the dialogue wheel patent: https://patents.google.com/patent/US20070226648A1/en

Sega Crazy Taxi directional arrow patent: https://patents.google.com/patent/US6200138B1/en

⇦ Fran Bow
Ready Player One ⇨